重庆市巫溪县特困人员救助供养办理指南
一、办理条件
同时具备以下条件的老年人、残疾人和未成年人,应当依法纳入特困人员救助供养范围:(一)无劳动能力,1、60周岁以上的老年人;2、未满16周岁的未成年人;3、残疾等级为一、二、三级的智力、精神残疾人,残疾等级为一、二级的肢体残疾人,残疾等级为一级的视力残疾人;(二)无生活来源;(三)无法定赡养、抚养、扶养义务人或者其法定义务人无履行义务能力。
二、申请材料
申请特困人员救助供养,应当由本人向户籍所在地乡镇人民政府(街道办事处)提出书面申请。本人申请有困难的,可以委托村(居)民委员会或者他人代为提出申请。
申请材料主要包括:(1)本人有效身份证明;(2)劳动能力、生活来源、财产状况以及赡养、抚养、扶养情况的书面声明;(3)承诺所提供信息真实、完整的承诺书;(4)残疾人应当提供中华人民共和国残疾人证。(5)户口本
申请人及其法定义务人应当履行授权核查家庭经济状况的相关手续。
三、2026年特困人员救助供养标准
特困人员基本生活标准为每人每月1001元。生活照料护理补贴标准为全护理每人每月500元、半护理每人每月300元、全自理每人每月100元。
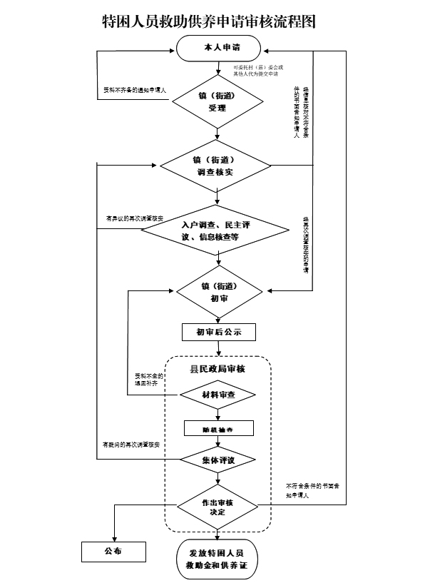
四、办理流程

五、办理时间
夏季作息时间(5月1日至9月30日):周一至周五9:00--12:30,14:30--18:00(法定节假日除外);冬季作息时间(10月1日至次年4月30日)周一至周五9:00--12:30,14:30--17:30(法定节假日除外)
户籍所在地的乡(镇)人民政府、街道办事处。
七、联系方式
重庆市巫溪县最低生活保障事务中心 023-51515523


